Aug . 2023
The ANT+ protocol is a low-power wireless transmission technology primarily used for data transfer between fitness devices, sports sensors, and smart devices. It operates on the 2.4GHz offers characteristics of low power consumption, low latency, and high reliability. The ANT+ protocol wide applications in the fitness industry, such as heart rate monitoring, step counting, and motion tracking. Therefore, for compact sports devices, ANT+ modules not only need to consider power consumption but also focus on miniaturized module design. A small-sized module design facilitates integration and helps reduce the overall volume and weight of the devices. Additionally, there is a demand for customized module solutions in specific application scenarios.

The RF51422 module is a UART interface ANT+ wireless transceiver module, equipped with a high-performance System-on-Chip (SOC) chip and integrated ANT+ protocol stack. Customers can establish communication between ANT+ devices directly through standard UART commands, making it suitable for developing products compliant with the standard ANT+ protocol. This module is compatible with the majority of ANT+ protocol devices available in the market. The RF51422 module is produced and tested using lead-free technology, adhering to RoHS and Reach standards.

The RF51422 module features the following built-in ANT+ profiles:
These built-in ANT+ profiles enable the RF51422 module to support a wide range of applications and provide seamless connectivity and data transmission for various ANT+ compatible devices.
The performance parameters of RF51422 are as follows:
Parameter | Min | TP | Max | Unit | Condition |
Operation conditions | |||||
Supply Voltage | 1.8 | 3.3 | 3.6 | V |
|
Operating Temperature Range | -40 | 25 | 85 | ℃ |
|
Current consumption | |||||
Emission current |
| 6.8 | 8 | mA | @3.3V |
Receive current |
| 2.9 |
| mA | @3.3V |
Sleep current |
| 0.26 |
| mA |
|
After powering on the module, it will automatically open the scan channel of the ANT+ device and output a startup message through the serial port. At this time, if there are ANT+ devices transmitting data, the serial port will continuously output the received data. If you do not need this scan channel, you can close it using specific commands. The module has three working modes: normal mode, sleep mode, and firmware upgrade mode. Another feature of this module is its small size design.
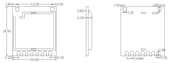
Module Mechanical Dimensions (Unit: mm, Tolerance: ±0.01mm)

For the ANT+ protocol interface module, the RF51422 module not only meets the requirements for low power consumption and small size design but also offers customized solutions tailored to specific needs. From dimensions, features to performance, from design, development to testing, NiceRF focuses on creating customized solutions to ensure the quality and performance of the customized modules.
+86-755-23080616
sales@nicerf.com
Website: https://www.nicerf.com/
Address: 309-315, 3/F, Bldg A, Hongdu business building, Zone 43, Baoan Dist, Shenzhen, China
Privacy Policy
· Privacy Policy
There is currently no content available
Email:sales@nicerf.com
Tel:+86-755-23080616