Output Power : 1mW
Size:13.5*22.2
UWB3000F00-X1 adopts Qorvo's DW3000 IC series, a fully integrated single-chip ultra-wideband (UWB) low-power, low-cost transceiver IC that complies with the IEEE 802.15.4-2020 standard protocol. It can be used in two-way ranging and TDoA systems, offering a positioning accuracy of 10 centimeters.
Parameter | Condition | Min. | Typ. | Max. | Unit |
Supply Voltage | 2.4 | 3.3 | 3.6 | V | |
Operating Temperature Range | -40 | 25 | 85 | ℃ | |
Frequency Range | CH5 | 6489.6 | MHz | ||
CH9 | 7987.2 | MHz | |||
Data Rate | 850k | 6.8M | bps | ||
Current Consumption | |||||
Sleep current | <1 | uA | |||
Continuous receive current | 72 | mA | |||
Continuous transmit current (data packet) | 67 | mA | |||
Ranging current | Average current | 21 | mA | ||
Peak current | 72 | mA | |||
RF parameter | |||||
Tx Power | @VCC=3.3V | -30 | 0 | dBm | |
Tx Bandwidth(BW) | 499.2 | MHz | |||
Receive parameters | |||||
Rx Sensitivity | @850Kbps | -100 | dBm | ||
@6.8Mbps | -94 | dBm | |||
Supports CH5 & CH9 (6489.6 MHz and 7987.2 MHz)
Data rates of 850 Kpbs and 6.8 Mbps
Packet length up to 1023 bytes
Supports 2-way ranging and TDoA positioning schemes
Programmable transmit power
Asset location to an accuracy of 10 cm
Personnel positioning in large-scale industrial production
Various indoor positioning scenarios
Underground coal mine positioning
Hospital staff positioning


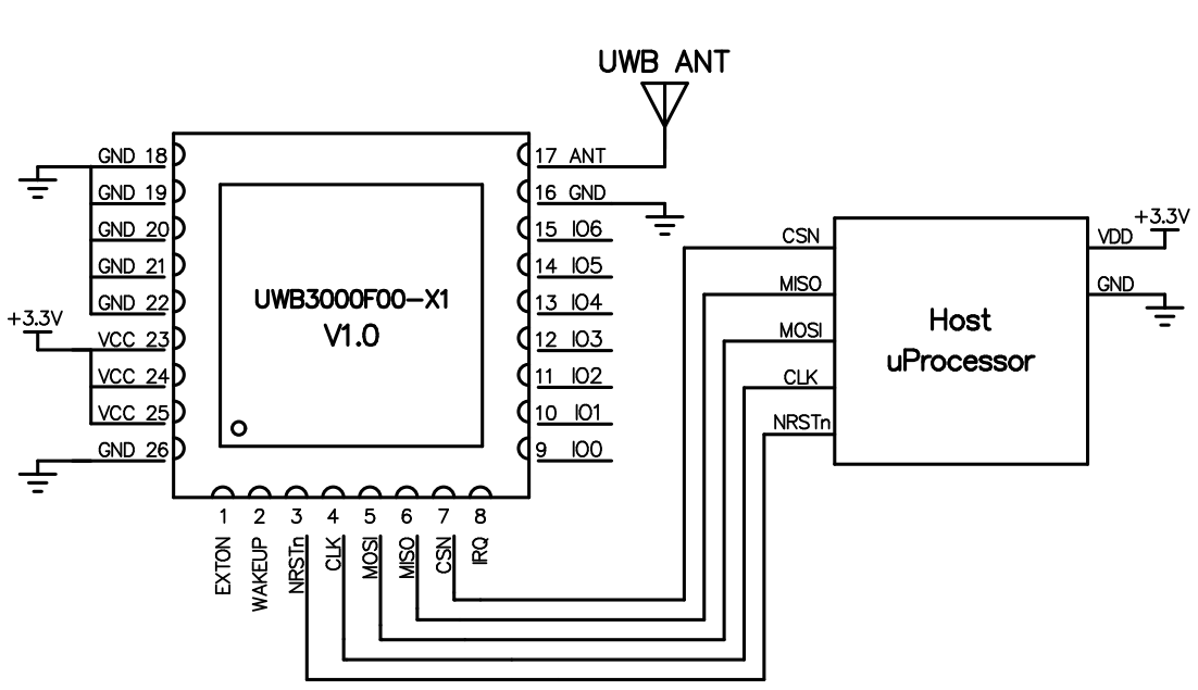
Pin No. | Pin definition | I/O | Description |
1 | EXTON | DO | External device enable. Asserted during wake-up and remains active until the device enters sleep mode. It can be used to control an external DC-DC converter or other circuits that are not needed while the device is in sleep mode, in order to minimize power consumption. For more details, please refer to the DW3000 datasheet. |
2 | WAKEUP | DI | When set to a valid high level, the WAKEUP pin brings the DW3000 out of sleep or DEEPSLEEP mode into active mode. If not used, this pin can be grounded. |
3 | NRSTn | DIO | Reset pin. Active-low output. Can be pulled low by an external open-drain driver to reset the device |
4 | CLK | DI | SPI clock |
5 | MOSI | DI | SPI data input |
6 | MISO | DO | SPI data output |
7 | CSN | DI | SPI chip select. This is an active-low enable input. A falling edge on SPICSn indicates the start of a new SPI transaction. SPICSn can also serve as a wake-up signal to bring the DW3000 out of sleep or DEEPSLEEP mode |
8 | IRQ | DI | Interrupt request output from the DWM3000 to the host processor. By default, IRQ is an active-high output, but it can be configured as active-low if needed. For correct operation in SLEEP and DEEPSLEEP modes, it should be configured as active-high. This pin is floating during SLEEP and DEEPSLEEP states and may cause false interrupts unless pulled low. If the IRQ function is not used, this pin can be reconfigured as general-purpose I/O (GPIO8) |
9 | GPIO0 | DIO | General-purpose I/O pins — refer to the chip datasheet for details |
10 | GPIO1 | DIO | General-purpose I/O pin, refer to the chip datasheet for details。 |
11 | GPIO2 | DIO | General-purpose I/O pin, refer to the chip datasheet for details |
12 | GPIO3 | DIO | General-purpose I/O pin, refer to the chip datasheet for details |
13 | GPIO4 | DIO | General-purpose I/O pin, refer to the chip datasheet for details |
14 | GPIO5 | DIO | General-purpose I/O pin, refer to the chip datasheet for details |
15 | GPIO6 | DIO | General-purpose I/O pin, refer to the chip datasheet for details |
16,18,19, 20,21,22,26 | GND | Connect to power ground (GND) | |
17 | ANT | External 50Ω antenna connection | |
23,24,25 | VCC | Connect to power supply positive terminal (2.4–3.6V) |

Privacy Policy
· Privacy Policy
There is currently no content available
Email:sales@nicerf.com
Tel:+86-755-23080616