Type: Wireless Audio
Certification: Others
Output Power: 160mW
Size:48.1*33.9
NiceRF launched a new low-latency, long-distance, high-sampling rate, high-fidelity wireless audio module SA326. SA326 series products are divided into transmitter module SA326-TX and receiver module SA326-RX. This product is an application board for SA316-TX and SA316-RX modules. It can work after power-on. You can also directly set the frequency of the module with PC software. Sound size and other parameters, greatly simplify the user's development difficulty, this product is widely used in occasions with relatively high sound quality requirements.
Parameter | Test Conditions | Min. | Typ. | Max. | Unit |
Operating voltage range | 3.3 | 4.2 | 5 | V | |
Range of working temperature | -20 | 25 | 60 | ℃ | |
Operating frequency range | @UHF | 500 | 980 | MHz | |
@VHF | 160 | 270 | MHz | ||
Audio transmission and reception delay | 4 | ms | |||
Serial port baud rate | 9600 | bps | |||
Current consumption | |||||
Sleep current(SA326-RX) | < 45 | uA | |||
Sleep current(SA326F30-TX) | < 20 | uA | |||
Receive current(SA326-RX) | @VCC=4.2V | < 140 | mA | ||
Transmit Current(SA326-TX) | @Not Transmitting | < 75 | mA | ||
@ During Transmission | <120 | mA | |||
Emission current(SA326F30-TX) | @Not Transmitting,5v | < 75 | mA | ||
@During Transmission,5v 30dBm | < 700 | mA | |||
Transmit parameter | |||||
Transmit power | @VCC=4.2V | 9 | 10 | 11 | dBm |
@VCC=5.0V | 29 | 30 | 31 | dBm | |
transmit power range | @VCC=4.2V | 0 | 10 | dBm | |
@VCC=5.0V | 20 | 30 | dBm | ||
Emission bandwidth(BW) | 300 | KHz | |||
Adjacent channel power ratio(ACPR) | @600KHZ | -60 | dBc | ||
Maximum microphone input voltage | 0.3 | 1.5 | Vrms | ||
Audio frequency response range | 30 | 20k | Hz | ||
Receive parameters | |||||
Receiving sensitivity | -96 | dBm | |||
Audio output amplitude (differential) | 400 | mVrms | |||
Audio output drive resistance | 600 | Ohm | |||
LOUT+,ROUT+Driving Resistor | 16-32 | Ohm | |||
SPKP,SPKN Driving Resistor | 4-8 | Ohm | |||
Signal to Noise Ratio (SNR) | @1KHz, | 86 | dB | ||
Total harmonic distortion (THD) | @48K Sampling Rate | 0.07 | % | ||
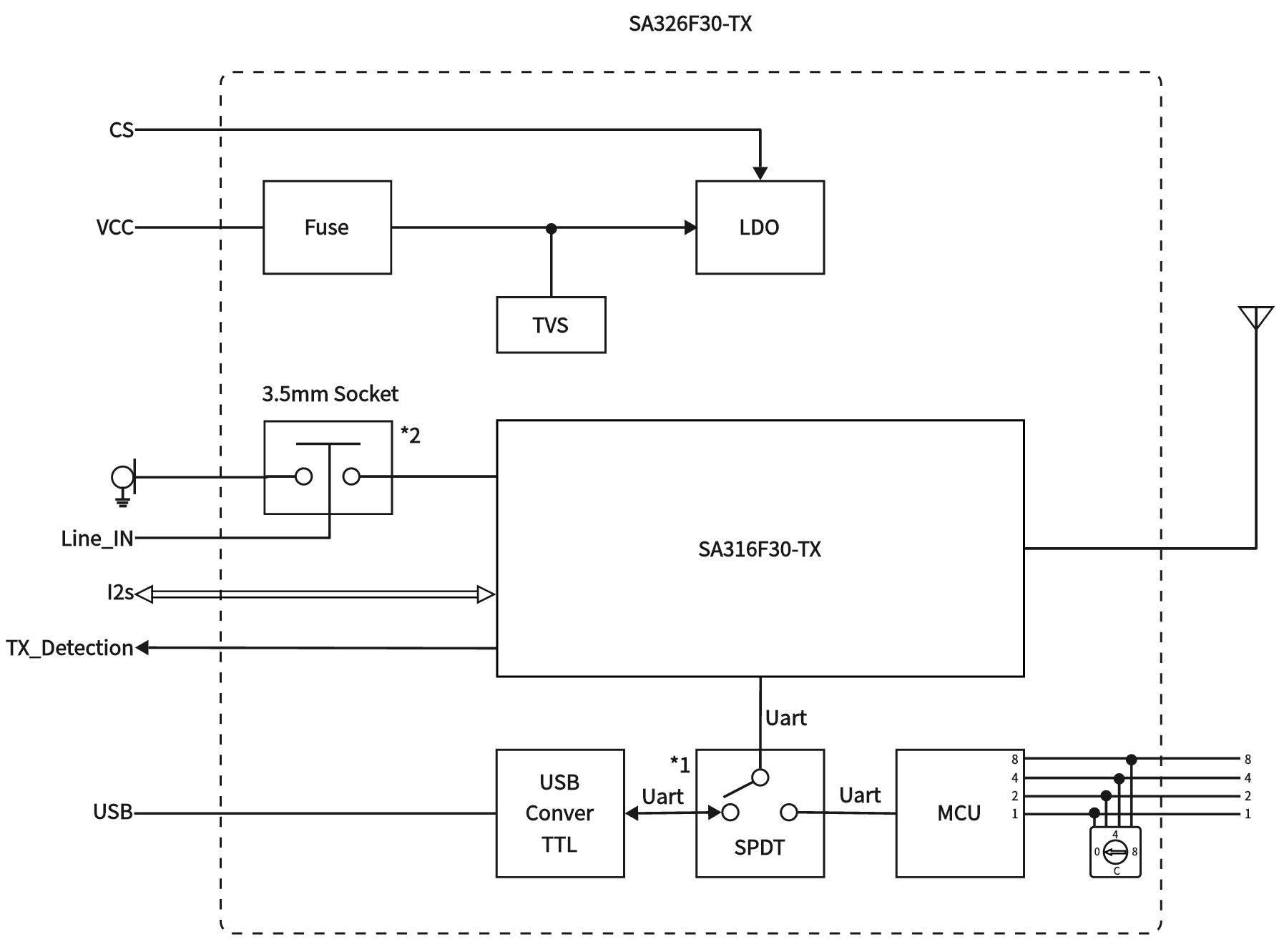
SA326F30-TX

SA326-RX

SA326F30-TX

Pin NO. | Pin name | I/O | Level standard | Description |
1,2,8,12,18 | GND | 0 | Connect the negative pole of the power supply | |
3 | NC | |||
4 | 1 | I | 0-3.3V | Frequency 16 channel 8421 encoding, the first digit, default "1" output |
5 | 2 | I | 0-3.3V | Frequency 16-channel 8421 encoding, the second bit, default "1" output |
6 | 4 | I | 0-3.3V | Frequency 16 channel 8421 encoding, the 4th bit, default "1" output |
7 | 8 | I | 0-3.3V | Frequency 16 channel 8421 encoding, the 8th bit, default "1" output |
9 | GPIO4 | I/0 | 0-3.3V | GPIO4 with internal audio chip |
10 | GPIO3 | I/O | 0-3.3V | Connect to GPIO3 of SA316F30-TX, it can be configured as SDIN when using I2S mode |
11 | VCC | 3.3-5V | The positive pole of the external power supply. (Typical value 4V) | |
13 | CS | I | 0-5V | Internally connected to the EN of the LDO, pull down the dormancy, internal pull-up, default "1" output |
14 | TX_DE | O | 0-3.3V | The transmission indicator pin is high when transmitting and low when not transmitting. |
15 | GPIO1 | I/O | 0-3.3V | Internally connected to GPIO1 of SA326F30-TX, when using I2S mode, it can be configured as SCK |
16 | GPIO0 | I/O | 0-3.3V | Internally connected to GPIO0 of SA326F30-TX, when using I2S mode, it can be configured as LRCK |
17 | GPIO2 | I/O | 0-3.3V | Internally connected to GPIO2 of SA326F30-TX , when using I2S mode, it can be configured as MCLK |
19 | MIC_N | I | The negative input of the microphone, it can be connected to the negative pole of the microphone or grounded. | |
20 | MIC_P | I | Microphone input positive terminal, (the best signal is less than 300mVrms) |
SA326-RX

| Pin NO. | Pin name | I/O | Level standard | Description |
| 1 | 1 | I | 0-3.3V | Frequency 16 channel 8421 encoding, the first digit, default "1" output |
| 2 | 2 | I | 0-3.3V | Frequency 16-channel 8421 encoding, the second bit, default "1" output |
| 3 | 4 | I | 0-3.3V | Frequency 16 channel 8421 encoding, the 4th bit, default "1" output |
| 4 | 8 | I | 0-3.3V | Frequency 16 channel 8421 encoding, the 8th bit, default "1" output |
| 5 | GPIO4 | I/O | 0-3.3V | Connect to GPIO4 of SA316-RX |
| 6 | GPIO3 | I/O | 0-3.3V | Internally connected to GPIO3 of SA316-RX, it can be configured as MCLK when using I2S mode |
| 7 | GPIO2 | I/O | 0-3.3V | Internally connected to GPIO2 of SA316-RX, when using I2S mode, it can be configured as SDIO |
| 8 | CS | I/O | 0-3.3V | Internally connected to the EN of the LDO, pull down the dormancy, internal pull-up, default "1" output |
| 9 | GND | I | 0 | Connect the negative pole of the power supply |
| 10 | VCC | I | 3.3-6V | The positive pole of the external power supply. (Typical value 4V) |
| 11 | GPIO1 | I/O | 0-3.3V | Internally connected to GPIO1 of SA316-RX, when using I2S mode, it can be configured as SCK |
| 12 | GPIO0 | I/O | 0-3.3V | Internally connected to GPIO0 of SA316-RX, when using I2S mode, it can be configured as LRCK |
| 13 | GND | I | 0 | Connect the negative pole of the power supply |
| 14 | LOUL LOUT+ | O | Connect to LOUT+ of SA316-RX, which can directly drive earphones | |
| 15 | GND | I | 0 | Connect the negative pole of the power supply |
| 16 | ROUT+ | O | Connect to ROUT+ of SA316-RX, which can directly drive earphones | |
| 17 | GND | I | 0 | Connect the negative pole of the power supply |
| 18 | VOL-ADJ | I | 3.33. 3.3V | Volume adjustment pin, the module has been connected to a 50K ohm adjustable potentiometer, and an external potentiometer can be connected |
| 19 | SPKN | O | Power amplifier output pin, external 4 ohm or 8 ohm 2W speaker | |
| 20 | SPKP | O | Power amplifier output pin, external 4 ohm or 8 ohm 2W speaker |
SA326F30-TX

SA326-RX

Privacy Policy
· Privacy Policy
There is currently no content available
Email:sales@nicerf.com
Tel:+86-755-23080616